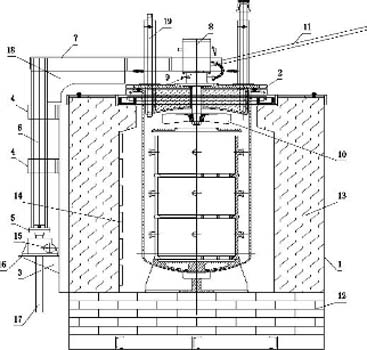
井式碳氮共滲爐由爐殼、爐襯、爐蓋升降機構、真空密封風機、馬弗罐及加熱元件等組成。爐殼為圓形,它由鋼板及型鋼焊接而成。爐襯是由0.6g/cm3 高強度超輕質微珠真空球耐火磚、硅酸鋁超長纖維、膨脹保溫粒料等砌筑而成的爐襯結構。真空密封風機裝在爐蓋上,它可以攪拌馬弗罐中的氣氛使之成 分均勻,同時使爐溫趨于均勻。滲碳爐的爐體外壁下部設有支座,支座正上方的爐體外壁上設有多個軸套,支座上固定有絲桿升降機構,該絲桿升降機構的上部通過壓力軸承與升降軸的底端連接,升降軸貫穿多個軸套且與軸套滑動配合,升降軸的軸線與爐體的軸線平行,升降軸的頂端垂直連接有搖臂桿,搖臂桿的另一端與電機殼體固定連接,該電機殼體通過電機支座與爐蓋固定連接,電機的輸出軸穿過爐蓋與風葉固定連接,搖臂桿的末端設有手柄。

上圖為井式碳氮共滲爐結構圖
井式碳氮共滲爐的爐蓋上的三個管子都有水冷套, 以便進入三個管子中的氣體快速冷卻,馬弗罐的作用是維護爐壓,保證滲碳或碳氮共滲的正常進行,它由耐熱鋼制成。碳氮共滲爐配有冷卻桶,用來存放處理后的零 件,爐蓋處設有砂封槽。
Copyright ? 丹陽市電爐廠有限公司 版權所有 www.jlykn.com
臺車爐,回火爐,退火爐